衛生站污水處理設備
公司生產的衛生站污水處理設備,衛生院污水處理設備加盟,根據衛生院的規模、性質和處理污水排放去向,進行工藝選擇。主要采用的工藝有三種:加強處理效果的一級處理、二級處理和簡易生化處理。可埋入地表下,設備上方地表可作為綠化或其他用地,不需要建房及采暖和保溫,全自動控制,不需人員管理無污泥回流操作簡單,維修方便。即地埋一體化污水處理設備加消毒裝置(二氧化氯發生器),處理后的水可以達標排放,并且設備投入較少。因此,小型綜合(主要包括城市衛生服務社區、鄉鎮衛生院)亟需尋求一種資金投入較少、建設周期較短、安全穩妥達標的技術方案(設備)。

衛生站污水處理設備采用生物接觸氧化法+二氧化氯發生器工藝,地埋設備具有以下顯著特點:
1、填料比表面積大,池內充氧條件良好,生物接觸氧化池內單位容積的生物固體量都高于活性污泥法曝氣池及生物濾池,具有較高的容積負荷。
2、大部分微生物固著且生長在填料表面,不需要設污泥回流系統,也不存在污泥膨脹問題,污泥產量低,運行管理簡便。
3、生物固體量多,水流屬完全混合型,對水質水量變化有一定適應能力。
4、生物接觸氧化池內微生物在生活污水環境下生長繁殖迅速,間歇性運轉啟動快,在7~15天即可達到處理效果。
5、生物接觸氧化工藝主體構筑物建筑設置為埋地式。 生物接觸氧化法運行費用低,占地面積小; 易于維護;
6、抗沖擊負荷能力強,運行操作方便,工藝先進,設備材料已成熟化,在運行管理上更具優勢,在污水處理工程中得到了廣泛的應用。
7、消毒設備的核心反應器采用耐高溫耐腐蝕的復合材料制做,設備使用壽命長。反應器設計為多級塔式結構分級加熱,主反應器的反應溫度高達70℃,即保證了CLO2 的高含量,又提高了原料的轉化率。


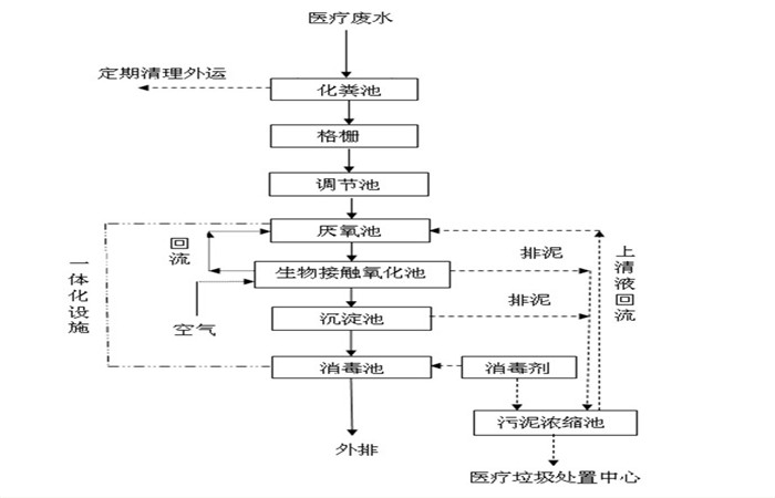
衛生站污水處理設備工藝流程圖:


返回首頁
電話
產品中心