醫院污水處理機械
醫院污水處理機械工藝介紹:
生物接觸氧化法:生物接觸氧化法生物池內設置填料,由于填料的比表面積大,池內充氧條件好,生物接觸氧化池內單位容積的生物體量都高于活性污泥法曝氣池及生物濾池,因此生物接觸氧化池具有較高的容積負荷,由于相當一部分微生物固著生長在填料表面,生物接觸氧化法可不設污泥回流系統,也不存在污泥膨脹問題,運行管理方便,由于生物接觸氧化池內生物固體量多,水流屬于完全混合型,因此生物接觸氧化池對水質水量的驟變有較強的適應能力,生物接觸氧化工藝大多適應于生活、醫院、療養院、賓館、住宅小區、與生活污水類似的各種工業有機廢水。

醫院污水處理機械工藝選擇思路:
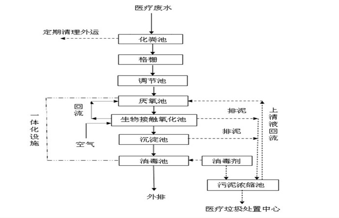
(1)預處理:廢水的預處理是整個系統能否有效運行的關鍵。廢水中含有大量易腐化的有機物,必須在進入處理系統前加以攔截,以防止懸浮固體有機質腐化成為溶解性有機質,導致廢水CODCr、BOD5濃度升高。常用的預處理方法很多,主要包括:調節、隔油、等。考慮到本工程的水量及水質特點,預處理工藝采用格柵、綜合調節相結合的工藝。
(2)水解酸化工藝在高濃度有機廢水的處理中是應用最多的形式,是通過控制水力停留時間及水中溶解氧的濃度,將生物的厭氧過程控制在水解及酸化階段,不要求進入產乙酸和產甲烷階段,從而縮短了反應的進程和時間。其主要的優勢在于能夠去除較多的有機物、降解分子量大和碳鏈較長的物質、提高進水的可生化性,同時由于其不進入產甲烷階段,對環境條件的要求較低,能夠抵抗一定的水質和水量的沖擊負荷,同時水解酸化反應在厭氧和缺氧條件下都能夠發生,對反應池的結構形式要求較低。水解酸化是將厭氧過程控制在水解和酸化階段即可,因此水解酸化反應池的停留時間短,反應池內的優勢菌群為水解酸化菌,少數為乙酸菌和產甲烷菌。另外,水解酸化工藝不進入產甲烷階段,產生的少量氣體可直接排入大氣中,不會對人體和周圍環境產生較大的影響。

(3)生化處理:
接觸氧化法是一種好氧生物膜法工藝,微生物以生物膜形式及懸浮態生長于水中,因此它兼具活性污泥及生物濾池二者的特點。池內設置立體彈性填料和曝氣管路系統,并于曝氣管路系統上安裝微孔曝氣器。彈性填料由拉毛的PP材質的絲條和絞繩制成,呈圓形毛刷狀,比表面積大,能附著大量的微生物膜。該填料掛膜快,脫膜容易,運行時絲條對空氣泡能起到極好的切割作用,使大氣泡切割成小氣泡,可增加氣液接觸面積,促進氧的傳遞,從而提高處理效果。

(4)消毒裝置:
二氧化氯發生器是一種操作簡單、高轉化率、高純度、多用途、環保型化學法中、小型二氧化氯多級發生器。這種二氧化氯發生器,是由釜式反應器通過耐酸導管和水 射式真空機組組成。釜式反應器采用的是兩級或多級反應器,主反應釜內設有空氣分布器,副反應釜設置了平衡管,使反應更徹底,反應后的殘液可達標排放。生成的二氧化氯制得水溶液,也可以制得穩定二氧化氯溶液。做為一種新型的氧化劑和消毒劑,二氧化氯以其高效、廣譜、無殘留、無副產物的消毒能力和脫色、除臭、 除異味等強氧化能力已經成為水處理領域的選擇。


返回首頁
電話
產品中心