醫用污水處理設備
醫用污水處理設備項目建設必需性和經濟性:
隨著國家對環保的日益重視和人民環保意識的提高,廢水污染解決與否直接關系人們的生存和發展。因此,無論從發展還是從改善水資源、保護水環境,做好該廠這類廢水的治理工程建設是十分必要的。廢水治理工程的建設是為了減輕附近水環境的污染,保護人民身體健康,改善環境衛生條件,有明顯的社會效益和環境效益,為可持續發展奠定堅實的基礎。

醫用污水處理設備設計原則:
1、本設計嚴格執行國家現行的環保技術標準、規范,遵守國家和地方環保的有關法律、法規,廢水經治理后,確保各項水質指標均達到《醫療機構水污染物排放標準》(GB 18466-2005)一級標準的要求;
2、選用先進、合理、可靠的處理工藝,在確保處理排放達標的前提下,做到操作簡單、管理方便、占地少、投資省、運行費用低, 有較好的技術經濟指標。
3、本工程系環境工程,尤其要注意環境保護,避免和減少二次污染,要求改善勞動衛生條件,貫徹安全生產和清潔文明生產的方針。
4、為了提高污水處理站管理水平,設計采用的自動化程度較高,操作人員的勞動強度低。
5、合理選用優質配件,降低能耗,提高工作效率和試用壽命,降低成本。
6、在工藝設計時,有較大的靈活性,可調性,以試用水量、水質的周期變化,提高系統的靈活性和可變性。
7、采用污泥前置回流消解工藝,以降低污泥產生量。
8、因地制宜,合理布局,有效的利用空間。

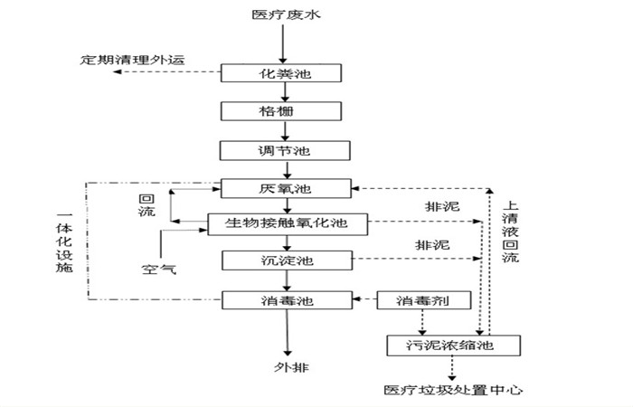
醫用污水處理設備工藝確定
本方案采用生物接觸氧化處理工藝,生物處理裝置要求技術可行,運行費用低廉,經濟合理,設備可靠先進,工藝技術具有一定的耐沖擊負荷和操作靈活性。整體布局應簡潔,合理、美觀、實用、減少動力消耗等。

醫用污水處理設備 2020-5-29 本文被閱讀 1372 次

返回首頁
電話
產品中心