醫院廢水一體化處理設備
醫院廢水一體化處理設備,采用生物接觸氧化處理工藝,生物處理裝置要求技術可行,運行費用低廉,經濟合理,設備可靠先進,工藝技術具有一定的耐沖擊負荷和操作靈活性。出水水質穩定,污泥產量少并易于處理。

一、醫院廢水一體化處理設備工藝:
醫院廢水一級處理的典型工藝是一級沉淀加俏毒。此流程適用于污水排人市政下水道的醫院,特別是一些綜合醫院。就我國目前的情況而言,大多數城市醫院廢水處理后是排人城市下水道,故通常只進行一級處理。醫院污水的處理經過以下流程:預處理+生化處理+消毒其中,消毒的作用是消滅污水中各種致病菌,以保證醫院污水處理后能夠達標排放。但隨著醫院污水排放標準的提高,有些大城市醫院也積極采用二級處理以確保處理后出水的水質。

二、醫院廢水一體化處理設備處理原則:
1、確保消毒滅菌效果使之達到國家污水排放標準;
2、應考慮廢水排放的排向及受納水體和環境功能對水質的要求。醫院污水處理的工藝流程通常包括污水的預處理和污水的消毒兩大部分。污水的預處理通常采用一級處理和二級處理(生化處理)。絕大多數醫院污水處理都采用一級或二級處理,經過預處理后再進行消毒的污水一般均能達到國家環保部門和防疫部門對醫院污水處理的要求。

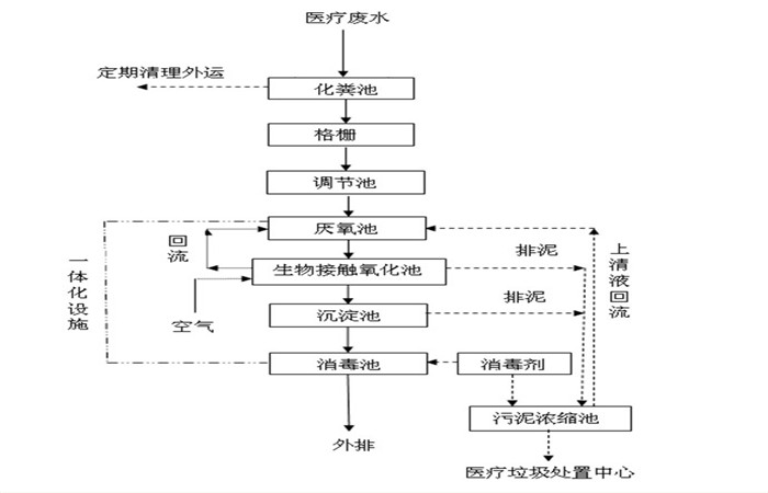
三、醫院廢水一體化處理設備工藝流程:
1、醫院廢水首先進入格柵井,格柵的作用主要是攔截污水中的漂浮物及顆粒物,減輕后續設備的處理負荷和保護水泵正常工作。
2、從格柵出來的水有提升泵提升到調節池,調節池的作用是調節水質和水量,使不同時間、不同水質的水充分混合,保證進入到后續設備的水質與水量均勻一致,還可以降低一定的負荷,使整套處理設備耐受短時間較高的負荷沖擊。
3、為防止SS在調節池沉淀,在調節池中安裝幾根曝氣軟管,起攪拌作用,同時調節池具有水解、酸化池的功能,可將部分大分子有機污染物降解為小分子污染物,去除部分有機污染物。
4、調節池出來的水自流至一體化醫院污水處理設備的水解酸化池,將不易分解的大分子有機物厭氧消化為易分解的小分子有機物,后廢水進入接觸氧化池,在曝氣池中設置填料,將其作為生物膜的載體。待處理的廢水經充氧后以一定流速流經填料,與生物膜接觸,生物膜與懸浮的活性污泥共同作用,達到凈化廢水的作用。
5、生物處理后的廢水自流入沉淀池,沉淀后上清液自流入消毒池,經過二氧化氯消毒后達標排放。

四、醫院廢水一體化處理設備消毒裝置:
二氧化氯發生器是一種操作簡單、高轉化率、高純度、多用途、環保型化學法中、小型二氧化氯多級發生器。這種二氧化氯發生器,是由釜式反應器通過耐酸導管和水 射式真空機組組成。釜式反應器采用的是兩級或多級反應器,主反應釜內設有空氣分布器,副反應釜設置了平衡管,使反應更徹底,反應后的殘液可達標排放。生成的二氧化氯制得水溶液,也可以制得穩定二氧化氯溶液。做為一種新型的氧化劑和消毒劑,二氧化氯以其高效、廣譜、無殘留、無副產物的消毒能力和脫色、除臭、 除異味等強氧化能力已經成為水處理領域的選擇。



返回首頁
電話
產品中心