醫療污水處理一體化設備
一、醫療污水處理一體化設備工藝選擇:
根據《醫療機構水污染物排放標準》GB18466-2005中所規定的排放標準執行,采用生物接觸氧化處理工藝,生物處理裝置要求技術可行,運行費用低廉,經濟合理,設備可靠先進,工藝技術具有一定的耐沖擊負荷和操作靈活性。整體布局應簡潔,合理、美觀、實用、減少動力消耗等。

二、醫療污水處理一體化設備采用工藝:
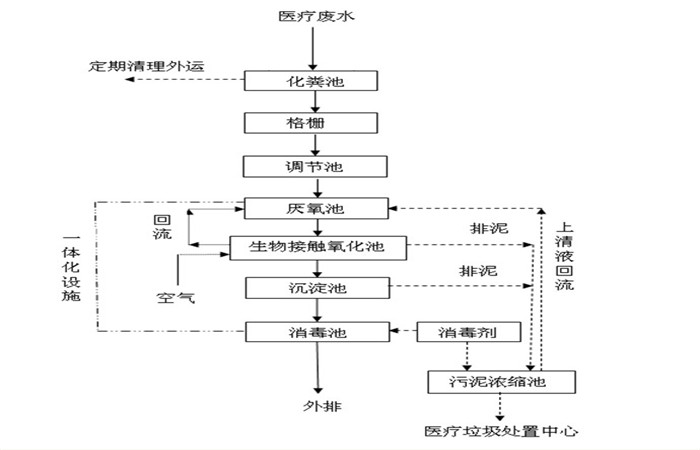
(1)預處理:廢水的預處理是整個系統能否有效運行的關鍵。廢水中含有大量易腐化的有機物,必須在進入處理系統前加以攔截,以防止懸浮固體有機質腐化成為溶解性有機質,導致廢水CODCr、BOD5濃度升高。常用的預處理方法很多,主要包括:調節、隔油、等。考慮到本工程的水量及水質特點,預處理工藝采用格柵、綜合調節相結合的工藝。
(2)水解酸化工藝在高濃度有機廢水的處理中是應用較多的形式,是通過控制水力停留時間及水中溶解氧的濃度,將生物的厭氧過程控制在水解及酸化階段,不要求進入產乙酸和產甲烷階段,從而縮短了反應的進程和時間。其主要的優勢在于能夠去除較多的有機物、降解分子量大和碳鏈較長的物質、提高進水的可生化性,同時由于其不進入產甲烷階段,對環境條件的要求較低,能夠抵抗一定的水質和水量的沖擊負荷,同時水解酸化反應在厭氧和缺氧條件下都能夠發生,對反應池的結構形式要求較低。水解酸化是將厭氧過程控制在水解和酸化階段即可,因此水解酸化反應池的停留時間短,反應池內的優勢菌群為水解酸化菌,少數為乙酸菌和產甲烷菌。另外,水解酸化工藝不進入產甲烷階段,產生的少量氣體可直接排入大氣中,不會對人體和周圍環境產生較大的影響。

(3)生化處理:接觸氧化法是一種好氧生物膜法工藝,微生物以生物膜形式及懸浮態生長于水中,因此它兼具活性污泥及生物濾池二者的特點。池內設置立體彈性填料和曝氣管路系統,并于曝氣管路系統上安裝微孔曝氣器。彈性填料由拉毛的PP材質的絲條和絞繩制成,呈圓形毛刷狀,比表面積大,能附著大量的微生物膜。該填料掛膜快,脫膜容易,運行時絲條對空氣泡能起到極好的切割作用,使大氣泡切割成小氣泡,可增加氣液接觸面積,促進氧的傳遞,從而提高處理效果。該工藝負荷高、停留時間短、掛膜快、運行穩定,比較適合小規模企業中小型污水處理站的建設,倍受環保公司及用戶青睞。
(4)消毒:醫院污水中含有大腸桿菌超標,因此在污水排放前必須加以消毒,有效的殺菌工藝是二氧化氯消毒,二氧化氯發生器以鹽酸和氯酸鈉為原料,采用負壓曝氣工藝,生產以二氧化氯為主,氯氣為鋪的復合消毒液,工業鹽酸應符合國家標準《GB320--93工業合成鹽酸》的要求。氯酸鈉應符合《GB1618--1995工業用氯酸鈉》的要求。

三、醫療污水處理一體化設備優勢:
1.實用性廣: 可適應各類醫療機構的廢水處理;
2.一體化:“一站式”一體化設計,外形美觀、占地面積小;
3.安全性能好:漏水漏電自動保護功能、高低壓自動保護功能、無廢水保護功能、儲液罐液位保護功能;
4.自動化: PLC智能控制系統,人機界面操作系統, LCD液晶顯示中文顯示、具人機對話功能,時鐘和語言設定功能,開機時設備電控系統自動檢測,全自動處理廢水、針對不同廢水的成分和濃度,控制系統自動進行計算然后按比例進行自動投放藥品,更加科學化和合理化;
5.遠程監控及操作功能:只需在辦公室或中控室通過遠程控制軟件對廢水處理間里的廢水處理設備進行遠程監控、運行操作和遠程管理,隨時了解設備的運行情況和運行狀態。



返回首頁
電話
產品中心