醫療廢水處理設備
一、醫療廢水處理設備工藝選擇:
根據衛生院的規模、性質和處理污水排放去向,進行工藝選擇。主要采用的工藝有三種:加強處理效果的一級處理、二級處理和簡易生化處理。即地埋一體化污水處理設備加消毒裝置(二氧化氯發生器),處理后的水可以達標排放,并且設備投入較少。

二、醫療廢水處理設備工藝介紹:
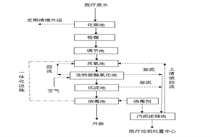
(1)預處理:廢水的預處理是整個系統能否有效運行的關鍵。廢水中含有大量易腐化的有機物,必須在進入處理系統前加以攔截,以防止懸浮固體有機質腐化成為溶解性有機質,導致廢水CODCr、BOD5濃度升高;
(2)水解酸化工藝在高濃度有機廢水的處理中是應用較多的形式,是通過控制水力停留時間及水中溶解氧的濃度,將生物的厭氧過程控制在水解及酸化階段,不要求進入產乙酸和產甲烷階段,從而縮短了反應的進程和時間。其主要的優勢在于能夠去除較多的有機物、降解分子量大和碳鏈較長的物質、提高進水的可生化性;
(3)生化處理:接觸氧化法是一種好氧生物膜法工藝,微生物以生物膜形式及懸浮態生長于水中,因此它兼具活性污泥及生物濾池二者的特點;
(4)消毒裝置:醫院污水中含有大腸桿菌超標,因此在污水排放前必須加以消毒,有效的殺菌工藝是二氧化氯發生器消毒。


三、醫療廢水處理設備售后服務承諾:
1、嚴格按業主的要求,保證進度,保證質量完成項目。
2、凡是我方提供的所有材料以及整體工程,均實行 12 個月免費保修,該保修期自整體項目最終竣工驗收合格之日起計算。
3、凡屬我方承包范圍和內容的項目,我方在接到修理通知的4小時內給予答復,48小時內必須派人修理。
4、在保修期內向業主提供的所有售后服務屬無償服務。

醫療廢水處理設備 2020-6-20 本文被閱讀 35076 次

返回首頁
電話
產品中心